oder

oder

« Zurück zur Übersicht
Kabelhalter-Typ-WH-5A-Nylon-natur

WH-5A Mini-Kabelhalter

Merkmale

  • Klebemontage
  • Material: Nylon 66
  • Farbe: natur

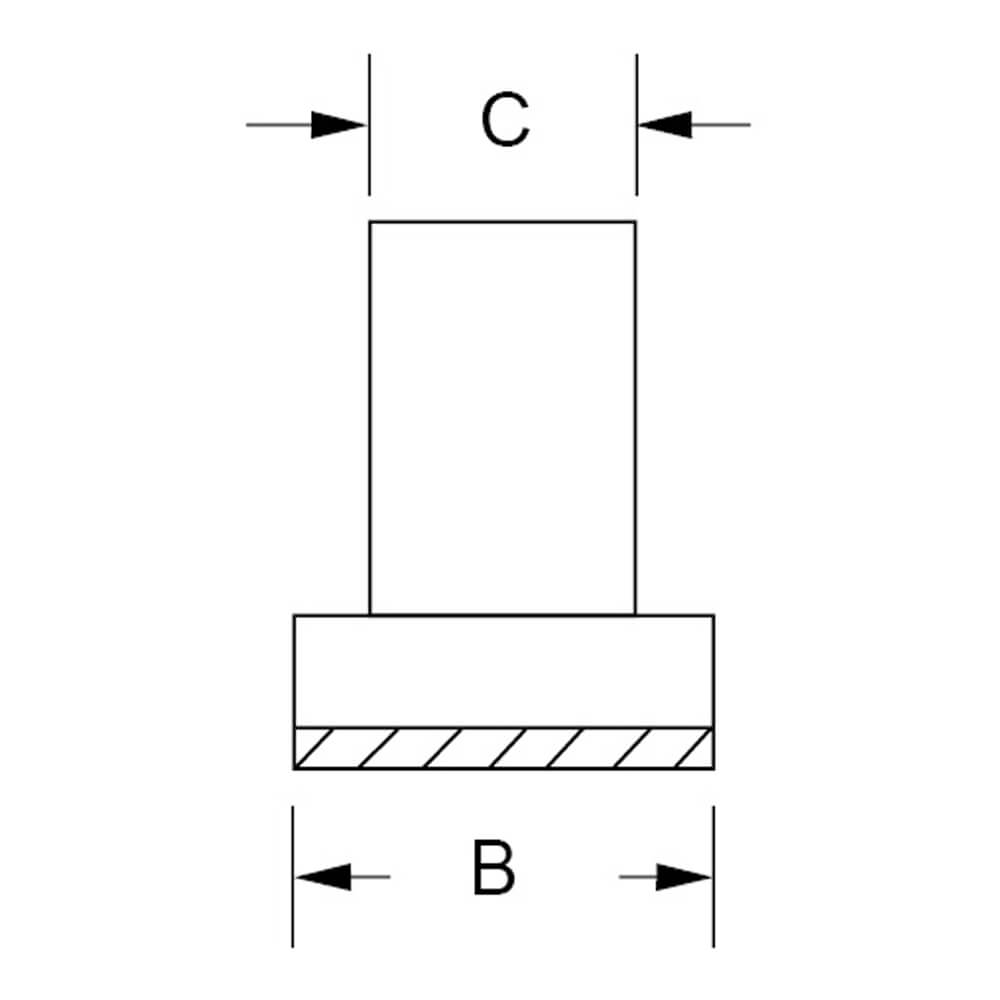
Technische Zeichnungen

Abmessungen in mm

Produktvarianten

Typen, Maße und weitere Daten
Art.-Nr.TypA (mm)B (mm)C (mm)D (mm)Datenblatt
2220409WH-5A17,88,95,610,7 Anfrage

Produktneuheiten

Unsere Services

Sie wünschen Beratung?

Wir freuen uns, wenn Sie mit uns Kontakt aufnehmen. Wir unterstützen Sie gerne!


THORA ist ISO 9001:2015 zertifiziert!