oder

oder

« Zurück zur Übersicht
Klappferrite-Typ-TF

TF Klappferrite

Merkmale

  • einfaches Anbringen des geteilten Ferritkerns auf installierten oder mit Steckverbindungen versehenen Leitungen
  • leichtes Öffnen des Kerns durch patentierten Schnappverschluss, somit auch ideal für Labor- und Testzwecke
  • hilfreich bei hochfrequenten Störungen zwischen 1 und 300 MHz, um den Anforderungen von FCC, VCCI, VDE und CE gerecht zu werden
  • Material: Polyamid 6, UL94V-0
  • Farbe: schwarz (auch in grau oder weiß erhältlich)

Technische Zeichnungen und Produktbilder

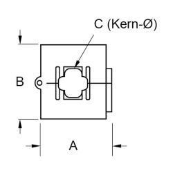
für Typ TF-50/1 bis TF-135
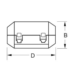
für Typ TF-35 bis TF-75
für Typ TF-715 bis TF-2629
für Typ TF-53 bis TF-133

Produktvarianten

Typen, Maße und weitere Daten → Typ TF-50/1 bis TF-135
Impedanz Ω
Art.-Nr.TypA (mm)B (mm)ØC (mm)D (mm)25 MHz100 MHzmax. Ω / MHzfür max. Kabel-Ø (mm)Datenblatt
6000321TF-50/115,014,05,223,090200340 / 4005,0 Anfrage
6000324TF-6520,520,06,533,0180275315 / 1756,5 Anfrage
6000327TF-10025,523,510,033,0130240343 / 33010,0 Anfrage
6000328TF-13531,530,013,033,0150250320 / 30013,0 Anfrage
Typen, Maße und weitere Daten → Typ TF-35 bis TF-75
Impedanz Ω
Art.-Nr.TypA (mm)B (mm)ØC (mm)D (mm)25 MHz100 MHzmax. Ω / MHzfür max. Kabel-Ø (mm)Datenblatt
6000322TF-3515,015,04,025,273135430 / 3854,0 Anfrage
6000323TF-5016,516,55,229,576148315 / 3505,2 Anfrage
6000325TF-7521,021,07,539,0125245285 / 3007,5 Anfrage
Typen, Maße und weitere Daten → Typ TF-715 bis TF-2629
Impedanz Ω
Art.-Nr.TypA (mm)B (mm)ØC (mm)D (mm)E (mm)25 MHz100 MHzmax. Ω / MHzfür max. Kabel-Ø (mm)Datenblatt
6000367TF-71515,514,07,018,022,055109530 / 4007,0 Anfrage
6000369TF-93020,519,59,031,535,580130810 / 7009,0 Anfrage
6000371TF-113020,521,011,032,036,0601101.183 / 69011,0 Anfrage
6000373TF-262931,530,513,034,039,543205335 / 34013,0 Anfrage
Typen, Maße und weitere Daten → Typ TF-53 bis TF-133
Impedanz Ω
Art.-Nr.TypA (mm)B (mm)ØC (mm)D (mm)E (mm)25 MHz100 MHzmax. Ω / MHzfür max. Kabel-Ø (mm)Datenblatt
6000385TF-5313,011,85,025,52,5105135380 / 5005,0 Anfrage
6000389TF-9319,518,09,035,05,580130835 / 7459,0 Anfrage
6000326TF-9020,620,09,542,09,5140215300 / 3009,0 Anfrage
6000393TF-13323,522,513,036,08,570120120 / 62013,0 Anfrage

Produktneuheiten

Unsere Services

Sie wünschen Beratung?

Wir freuen uns, wenn Sie mit uns Kontakt aufnehmen. Wir unterstützen Sie gerne!


THORA ist ISO 9001:2015 zertifiziert!