oder

oder

« Zurück zur Übersicht
Rundkabelhalter-Typ-ACC-Aluminium

ACC Rundkabelhalter

Merkmale

  • Klebemontage
  • für runde Einzelkabel oder Kabelbündel
  • Material: Aluminium
  • Farbe: natur

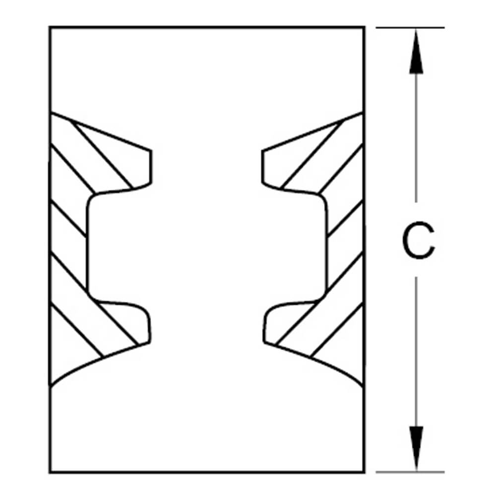
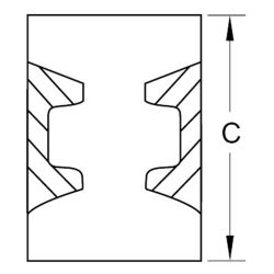
Technische Zeichnungen

Abmessungen in mm

Produktvarianten

Typen, Maße und weitere Daten
Art.-Nr.TypA (mm)B (mm)C (mm)für Kabel-Ø (mm)Datenblatt
2201501ACC-019,511,016,06,3 Anfrage
2201502ACC-0214,516,019,010,0 Anfrage

Produktneuheiten

Unsere Services

Sie wünschen Beratung?

Wir freuen uns, wenn Sie mit uns Kontakt aufnehmen. Wir unterstützen Sie gerne!


THORA ist ISO 9001:2015 zertifiziert!